发布时间:2024-04-08
来源:必发电子游戏官网
近年来,由于立式液下泵的大量生产,小型污水泵房多已设计成地上式的。该种液下泵有多种型号。以北京的一种产品为例,该种泵最长的泵轴管约为3.5米,吸、压水管口径为65mm,配带3~7.5kW的电动机,机座尺寸为500x700mm。
对于大型污水泵房,目前尚无该类液下泵可利用。而且实际上该类液下泵也不适于制造大流的。因此,大型污水泵房的设计须另寻途径。
今提出大型污水泵房地上式设计的一个方案。此方案仍然利用了立式液下泵,但只是部分地利用。同时,此方案仍然利用了底阀,但其构造不同于普通底阀。图1示出了此方案泵房的集水池部分。由图可见,池内安装了地面泵房污水泵的吸水管(每台泵一-根)。其底端用拍门(成品,口径350mm)和混凝儿(及钢筋)材料筑造了一个底阀。此外,在除渣平台上安装了一台立式液下泵(电动机在平台上,泵在最高水位以下,吸水管伸到最低水位以下。事故出流管口商于该平台时,电动机的安装位置应相应提高)。山该泵的压水管引出支管。其一分支与地面泵的收水管联接,作为灌水管。该支管上装置电磁阀。另一分支伸至池底,作为冲洗管。该冲洗管除用来冲起池底沉淀污泥外,还引出分支接底阀拍门部位的侧壁,引污水冲洗拍门。当需要抽水时,可按污水流量的大小作不同方式的运行:当流最较小时,仅开动立式液下泵,当流最较大时,则先后开动立式液下泵和一台或多台地面泵。
在后一种情况下,当开动立式液下泵时,同时开启灌水管上的电磁阀。于是该泵的出水分为两路:一路直接排入泵房的出水井。另一路经地面泵的吸水管、泵体和压水管排人泵房的出水井,执行灌水排气程序。当灌水时,底阀内的拍门必有泄漏,然而该泄漏量只会占液下泵出水量的很小一部分。因此灌水仍能在很短时间内完成。当灌水完成后即可启动地面泵,同时关闭灌水管上的电磁阀。此后,底阀内的拍门就呈开启状态,地面泵与液下泵共同运行。
上述启动过程无疑可以而且很容易实行自动控制。
上述底阀中的拍门口径比吸水管口径大得多。因此,运行中拍门只需有很小的开启角度即可通过设计流量,而且其水头损失比普通底阀小。另外,该拍门不易被固体污物所梗卡。即便梗卡而致严重泄漏,也能实现灌水启动,必要时可如前所述,引污水冲洗即可消除梗卡。

还可以用自来水作为备用灌水水源,以增加地面泵启动的可靠性。
远离城镇和厂区的解远泵房,往往难有自来水管引到该处。在该情况下,上述集水池中可再加设一台液下泵作为备用灌水泵。可以看出,上述泵房在造价、施工、设备安装、运行、管理和检修等各方面都优于地下式污水泵房。
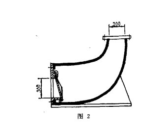
如能由工厂成批生产图2所示的铸铁底阀,则对本方案泵房的设计和施工都将带来很大的方便(如泵吸水管口径小于该底阀出水口口径,可另加变径管件。
如 果由于所用水 泵允许吸上真空高度较小或其 它原 因而 不能 设计成地面 式泵房 , 也可按上述 方案 设 计成半地下 式 泵房 , 该半地 下式污水 泵房也 在 上 述各方面 优于 地 下式污水泵房 。

本文标题:地上式污水泵房设计方案
责任编辑:弘泱机械科技编辑部
本文链接://www.swzah.com/xwzx/hydt/7352.html 转载请注明出处